汽車衡系統安裝及聯機
1 秤體的堆放和貯存
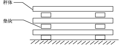
用戶在堆放秤體時需注意以下幾點:
秤體應水平放置。
各秤體間墊塊均要墊實,不得留有空隙,且應在同一條直線上,以防變形。

2 基礎施工要求
2.1 本公司電子汽車衡的基礎結構有無基坑和淺基坑二種,見圖3。參見基礎圖樣。汽車衡安裝在地平面之上,稱為無基坑安裝:安裝在地平面之下,稱為淺基坑安裝。
2.2 用戶根據本公司提供的基礎布置設計圖樣,結合現場地質條件,再進行施工圖樣設計,施工設計中必須特別注意下列三個問題:
基礎下素土承載力(地耐力)要求不低于98kpa(10t/㎡),如現場地質條件為濕陷性黃土、膨脹土、凍土層時,則基礎必須另加措施處理。
基礎開挖必需挖至當地凍土地以下。詳見施工規范。
對于淺基坑型基礎,必需設置排水通道,同時應考慮基礎四周蓋板的放置,以便今后維護、維修人員的操作預留空間。無基坑型基礎也要考慮周圍排水通道,保證汽車衡不會因下暴雨而淹入水中。

2.3 基礎預埋件(基礎板、地腳螺栓、縱向限位預埋件等)由本公司提供,施工中必須采取措施,保證地腳螺栓和底板的正確位置。為此建議采用二次灌漿的方法來定位地腳螺栓和底板,尤其是各底板之間的水平度和標高誤差必須符合基礎圖樣設計要求。
2.4 基礎施工完畢后,必須注意保護。為縮短施工周期和養護時間,允許施工時在混凝土中加“早強劑”等措施,混凝土未達到設計強度時不得安裝秤臺。
2.5 汽車衡磅房間的設計由用戶按實際需要自行確定;磅房內供電方式、接地方式和系統設備連接方式見附錄A和汽車衡接線圖。
